6月21日,在一場由安徽省滁州市中級人民法院舉辦的司法拍賣中,一張“青眼白龍 游戲王 紀念卡牌”吸引了不少網友的注意,本次拍賣從今日下午16:00開始,該卡牌的起拍價為80元。

因為本次拍賣通過某網絡平臺舉辦,網友們不僅可以進行圍觀,更可以參與競拍。而令人震驚的是,這張被法院標明“品牌真偽不詳”的青眼白龍卡牌,競拍開始后出價一路水漲船高,剛開拍沒多久就有人出價100萬,此后更是一發不可收拾,漲至千萬級別。

這樣離譜的出價也很快引起了注意,目前該場拍賣已經中止,官方給出的說明為“拍品與實際競拍價格嚴重不符,可能存在惡意炒作與競價行為”。

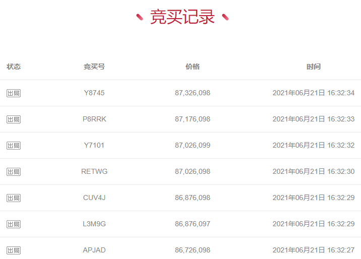
而根據平臺方顯示的最終數據,拍賣中止時,這張青眼白龍卡牌的出價達到了驚人的8732.6萬元。

據悉,這款純金的“青眼白龍”卡牌是2019年科樂美推出的游戲王20周年紀念版金卡,當時的官方定價為20萬日元(約合人民幣1.18萬)。該卡全球限量發售500套,而且想要購買的話還需要抽資格,所以非常珍貴稀有。參與拍賣的這張“青眼白龍”編號152,不過尚未確定真偽。如果卡牌為真,市場價可能在幾十萬元左右,競拍中的出價明顯過高。

這里需要說明的是,根據《中華人民共和國民事訴訟法》第一百一十一條及《最高人民法院關于適用〈中華人民共和國民事訴訟法〉的解釋》第一百八十七條之規定,對于在司法網拍中惡意抬價,擾亂司法拍賣秩序的買受人,人民法院可以對其罰款、拘留,構成犯罪的,依法追究刑事責任。而在此次事件中,對“青眼白龍 游戲王 紀念卡牌”抬價的行為,法院方面會作何行動,目前尚不得而知。
